|
¹ö Õë
- ½Ç ½Ó ´¥ Çò Öá ³Ð |
|
|
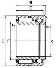
Ë«ÏòÊÜÁ¦NKIBϵÁÐ |
|
|
|
|
Öá¾¶ |
Öá ³Ð ÐÍ ºÅ |
Íâ ÐÍ ³ß ´ç |
»ù±¾¶î¶¨¸ººÉ |
¼«ÏÞתËÙ1) n1 oil ¡Ö min-1 |
|
||||||||
|
|
d |
F |
D |
B |
C |
rs min. |
¾¶Ïò |
ÖáÏò |
|
||||
|
¶¯ C N |
¾² C0 N |
¶¯ C N |
¾² C0 N |
||||||||||
|
mm |
|||||||||||||
|
12 |
NKIA
5901 |
12 |
16 |
24 |
17.5 |
16 |
0.3 |
7600 |
8300 |
2160 |
1940 |
23000 |
|
|
15 |
NKIA 5902 |
15 |
20 |
28 |
20 |
18 |
0.3 |
10600 |
13600 |
2340 |
2370 |
21000 |
|
|
17 |
NKIA 5903 |
17 |
22 |
30 |
20 |
18 |
0.3 |
11000 |
14600 |
2500 |
2750 |
20000 |
|
|
20 |
NKIA 5904 |
20 |
25 |
37 |
25 |
23 |
0.3 |
21000 |
25500 |
3950 |
4200 |
17000 |
|
|
22 |
NKIA 59/22 |
22 |
28 |
39 |
25 |
23 |
0.3 |
22800 |
29500 |
4250 |
4850 |
15000 |
|
|
25 |
NKIA 5905 |
25 |
30 |
42 |
25 |
23 |
0.3 |
23600 |
31500 |
4350 |
5200 |
14000 |
|
|
30 |
NKIA 5906 |
30 |
35 |
47 |
25 |
23 |
0.3 |
25000 |
35500 |
4750 |
6300 |
13000 |
|
|
35 |
NKIA 5907 |
35 |
42 |
55 |
30 |
27 |
0.6 |
31500 |
50000 |
6000 |
8400 |
11000 |
|
|
40 |
NKIA 5908 |
40 |
48 |
62 |
34 |
30 |
0.6 |
43000 |
67000 |
7400 |
10900 |
9000 |
|
|
45 |
NKIA 5909 x |
45 |
52 |
68 |
34 |
30 |
0.6 |
45000 |
73000 |
7700 |
12000 |
8500 |
|
|
50 |
NKIA 5910 x |
50 |
58 |
72 |
34 |
30 |
0.6 |
47000 |
80000 |
8100 |
13700 |
8000 |
|
|
55 |
NKIA 5911 |
55 |
63 |
80 |
38 |
34 |
1 |
58000 |
100000 |
9700 |
16600 |
7000 |
|
|
60 |
NKIA 5912 |
60 |
68 |
85 |
38 |
34 |
1 |
60000 |
108000 |
10000 |
17900 |
6500 |
|
|
65 |
NKIA 5913 x |
65 |
72 |
90 |
38 |
34 |
1 |
61000 |
112000 |
10300 |
19300 |
6500 |
|
|
70 |
NKIA 5914 |
70 |
80 |
100 |
45 |
40 |
1 |
84000 |
156000 |
13500 |
25000 |
5500 |
|